欢迎来到J9国际站登录B2B订单网,请登录

10-1.png
  • 10-1.png

15kV美式四联混合母排

15kV美式四联混合母排适用于美式600A电气系统,广泛应用于美式箱变、环网柜、电缆分支箱及其他电气设备,作为设备高压引出线的接口,可提供四个高压接口与各类600A、200A插头或避雷器连接。 产品符合标准IEEE386中200A套管设计。

收藏商品

产品类别
  • 产品->电力电缆附件->1-35kV可分离连接器及配套产品
应用描述
  • 1-35kV可分离连接器及配套产品

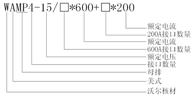
型号:WAMP4-15/□*600+□*200

电气性能


额定电压

15kV(8.3/14.4kV)

额定电流

600A

工频耐压(AC)

26.1kV/5min

局部放电

15kV,≤10pC

注:该产品满足IEC   60502.4,IEEE-386及GB/T 12706.4要求

产品尺寸


blob.png          blob.png

                                                            美式600A标准套管尺寸                 美式200A标准套管尺寸

产品型号说明


blob.png




关联产品
常购商品
为您推荐
公司简介|联系我们|网站地图|隐私声明|平台协议|快递查询

物料名称

物料编码

备注*